
根據一項最新公佈的專利申請,蘋果公司正在研究一種 MacBook 鍵盤,該鍵盤有一個可拆卸的鍵,可作為精密滑鼠使用。
可拆卸按鍵作為滑鼠使用
蘋果公司確實在探索各種可以想像到的鍵盤方式,但一份新公佈的專利申請詳細說明了一種簡直是奇特的方式。蘋果發明家 Paul X. Wang,他以前的工作包括玻璃鍵盤的計劃,提議使用可拆卸的滑鼠。
蘋果申請「可部署的按鍵滑鼠」,並已提交給美國專利和商標局。聽起來不像是蘋果公司典型的未來主義計劃,而更像是對 20 世紀 80 年代觸控板前時代的回溯。那時,PC 用戶可以將滑鼠扣在筆記本電腦的側面,並努力使用這些極不符合人體工程學的設備。

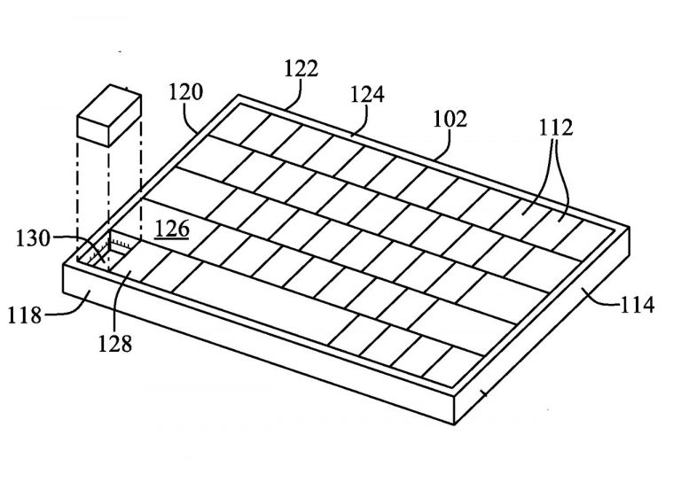
該專利申請設想了一種標準外觀的 MacBook 剪刀系統鍵盤,具有一個隱藏的可行動鍵。這個鍵將包含一個位置傳感器,可作為一個指點設備使用。蘋果公司將該系統描述為提供一種舒適、便攜和精確的計算機輸入系統的指針輸入。
該文件解釋說,一些精確的任務,如圖形設計、計算機輔助設計和建模,以及編輯大型複雜文件,更適合使用手持滑鼠而不是觸控板。蘋果公司承認,隨電腦攜帶一個單獨的滑鼠可能是一種負擔,而且可能是當電腦已經有內建的指向性設備時,是多餘的。
蘋果公司稱,可拆卸的按鍵是解決這一問題的可行方案。在一些實施方案中,該鍵在未部署時將能在鍵盤上正常工作,並具有一個小電池。

蘋果公司概述了促進可行動鍵的各種機械系統,包括將單個或一組多個鍵從外殼中垂直滑出,以及將一個鍵從機器的側面水平滑出。該專利的插圖顯示,可展開的鍵位於鍵盤的邊緣,因此它不會是一個經常使用的鍵。
專利申請不能作為蘋果公司近期計劃的證據,但它們確實表明了該公司感興趣的領域以及它在幕後考慮開發的東西。

發表留言