
美國 Apple 公司最近獲得了一項新的專利,可以利用 iPhone、Apple Watch 等手持設備來掃描你的身體,檢測是否存在偏胖等其它健康問題。這項新技術能夠幫助用戶更加方便地檢查自己的身體狀況,也為蘋果帶來了一個全新的市場。
蘋果專利可用於偵測身體
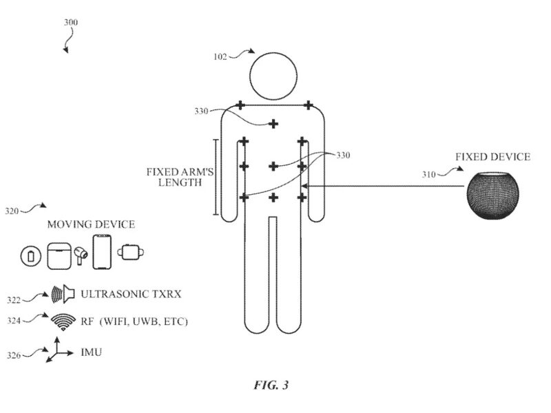
掃描身體的技術一直是一個困難的問題,因為需要藉助體積龐大、功能複雜的光學設備才能確定人體的體型。但是,蘋果的新技術通過手持設備來實現,不僅簡單易用,而且能夠檢測到偏胖等健康問題,進一步幫助用戶識別自己的身體狀況。
手持設備掃描身體
使用 iPhone、Apple Watch、iPad 或 HomePod 等手持設備,用戶只需要在多個 3D 點圖進行自拍,然後根據 3D 點圖確定軀幹的形狀,從而構建出用戶完整的體型。這個過程簡單且方便,讓用戶可以隨時隨地檢測自己的身體狀況。

蘋果的這項新技術將會帶來很大的市場潛力,不僅能夠檢測健康問題,還可以幫助用戶更好地了解自己的身體狀況,進一步改善自己的生活方式。這項專利的成功研發也將會激勵其他公司投入更多的資源,開發出更加方便易用的身體檢測設備。
總結來說,蘋果的新技術能夠幫助用戶更加方便地檢查自己的身體狀況,讓用戶可以更好地了解自己的身體狀況,進一步改善自己的生活方式。

發表留言